中国运载火箭技术研究院航天材料及工艺研究所自主研发的“一种组合模具及其在成型复合材料结构件中的应用”获国家发明专利。
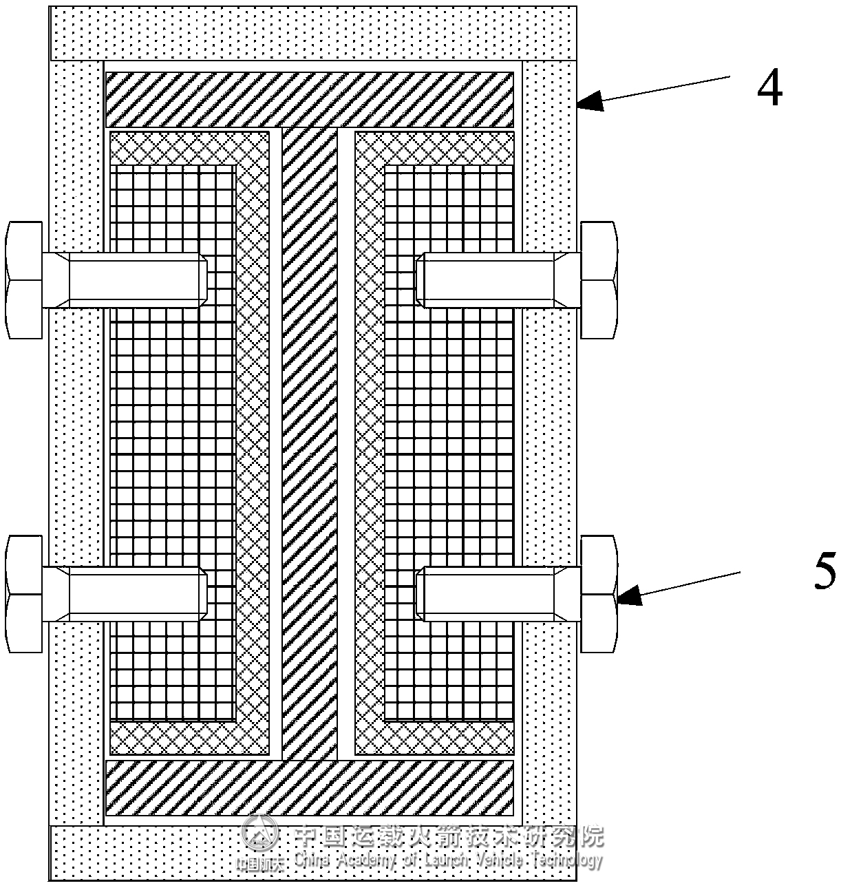
现有硅橡胶软模模具存在膨胀压力过大、压力传递不均匀等问题,单纯修改硅橡胶软模模具尺寸已无法得到满足图纸要求尺寸精度的产品。因此,需要对硅橡胶软模模具进行改进。
该发明通过使用硅橡胶/ 金属芯组合软模模具,使成型后的产品外观质量明显优于全硅橡胶软模成型的产品;通过调节硅橡胶软模与金属芯的体积比例,均得到了外观质量、内部质量满足要求的产品,实现了硅橡胶软模体积与金属芯体积比例的可调。

△硅橡胶/金属芯组合软模模具示意图
|
网友评论
文明上网理性发言,请遵守新闻评论服务协议