中国运载火箭技术研究院首都航天机械有限公司所属北京首航科学技术开发有限公司“快卸锁及用该快卸锁的舱体”获国家实用新型专利。
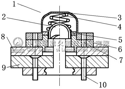
快卸锁主要用于飞机受力较小、反复开启的口盖和舱内电子设备的固定,主要起到快卸和锁紧止动的作用。由于普通的快卸锁的上锁体与下锁体件存在间隙,不能阻止雨水、灰尘等物进入机舱内,因此只能局限用于舱内以及无密封要求的口盖上。
该发明可以极大的减少舱门的打开和关闭时间,提高了工作效率;同时快卸锁的锁座上设有用于阻止雨水和灰尘等物进入快卸锁的帽盖,提高了快卸锁的密封性能。

△舱体上的快卸锁的结构示意图
|
网友评论
文明上网理性发言,请遵守新闻评论服务协议